Компания
Мехтехника
Тел.: 8 (800) 505-36-88

Цепи роликовые с изогнутыми пластинами ПРИ (ГОСТ 10947-81)

Цепи роликовые с изогнутыми пластинами ПРИ (ГОСТ 10947-81)

Цепи роликовые приводные с изогнутыми пластинами могут быть успешно использованы в различных областях и сферах промышленности. Оборудование характеризуется высоким качеством и износостойкостью, что особенно важно при активной его эксплуатации. Цепи приводные с изогнутыми пластинами применяются в качестве элемента приводов промышленного назначения, куда относится дорожное, железнодорожное и сельскохозяйственное оборудование. Также цепи находят применение в нефте-, горнодобывающей, нефтеперерабатывающей промышленных отраслях. Цепи приводные выпускаются с разными присоединительными элементами, которые подбираются, исходя из особенностей условий протекания конкретного технологического процесса.

Цена: от 2 180 руб. за 1 п.м.

Пример условного обозначения при заказе

ПРИ-78,1-40000, где:

  • ПРИ - цепь приводная роликовая с изогнутыми пластинами;
  • 78,1 - шаг цепи;
  • 40000 - разрушающая нагрузка, кг.

Общее описание

Цепи приводные роликовые с изогнутыми пластинами ПРИ

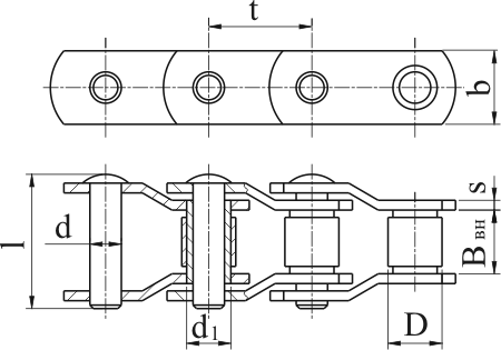
РИС. 1
Цепи приводные роликовые с изогнутыми пластинами ПРИ

Обозначение

t

Bвн

D

Разрушающая нагрузка, кг

d

d1

b

s

l

Вес, 1 пог. м

ПРИ-78,1-36000

78,1

38,10

33,30

36000

17,15

25

45,00

10

95,0

14,44

ПРИ-78,1-40000

78,1

38,10

40,00

40000

19,00

28

56,00

10

96,0

16,30

ПРИ-103,2-65000

103,2

49,00

46,00

65000

24,00

32

60,00

10

134,0

27,70